Модель электрического котла Эван Warmos М-21 отличается высокой мощностью и предназначена для монтажа в квартирах, домах или небольших магазинах. Прибор оснащен защитным датчиком от перегрева и снижения рабочего давления, поэтому его эксплуатация надежна и безопасна. Котел может работать в нескольких режимах, настраиваемым пользователем вручную.
Достоинства серии отопительных электрокотлов Эван Warmos М:
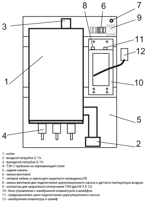
- Нержавеющие ТЭНы «Backer» с ротацией для продления срока службы
- Изменение мощности в трех ступенях (включение/отключение ступеней происходит с временной задержкой в 3 секунды)
- Циркуляционный насос в комплекте
- Термоманометр
- Система аварийного отключения: встроенный аварийный термовыключатель с самовозвратом, датчик минимального давления, реле протока, реагирующее на изменение скорости циркуляции теплоносителя
- Возможность управления температурой с помощью выносного термостата (предусмотрено конструкцией в комплект не входит)
- Возможность удаленного управления и внешнего управления
Электроотопительные котлы нового поколения Warmos М помогут создать стабильную и долговечную систему отопления в любом помещении. Все изделия изготовлены с применением современных технологий производства из материалов высокого качества. Котлы оснащены электронной системой управления и самодиагностики, а также мощной системой безопасности, что гарантирует безукоризненную работу оборудования.









